AM series protection relay are applicable to the user substation which the input voltage is 35kv and below. We adopt mature technology solutions to ensure the quality of the AM relay.The AM relay are widely used in substations, subsection posts and ring main units for office buildings, commercial buildings, communication buildings, mine buildings and so on.
AM series protection relay are applicable to the user substation which the input voltage is 35kv and below. We adopt mature technology solutions to ensure the quality of the AM relay.The AM relay are widely used in substations, subsection posts and ring main units for office buildings, commercial buildings, communication buildings, mine buildings and so on.
● A complete set of protection, related to the application;
● 4 current input, 3 voltage input, 8DI, 5DO;
● Auxiliary power supply adapts with AC220V, DC220V, DC110V, AC110V, DC48V, DC24V;
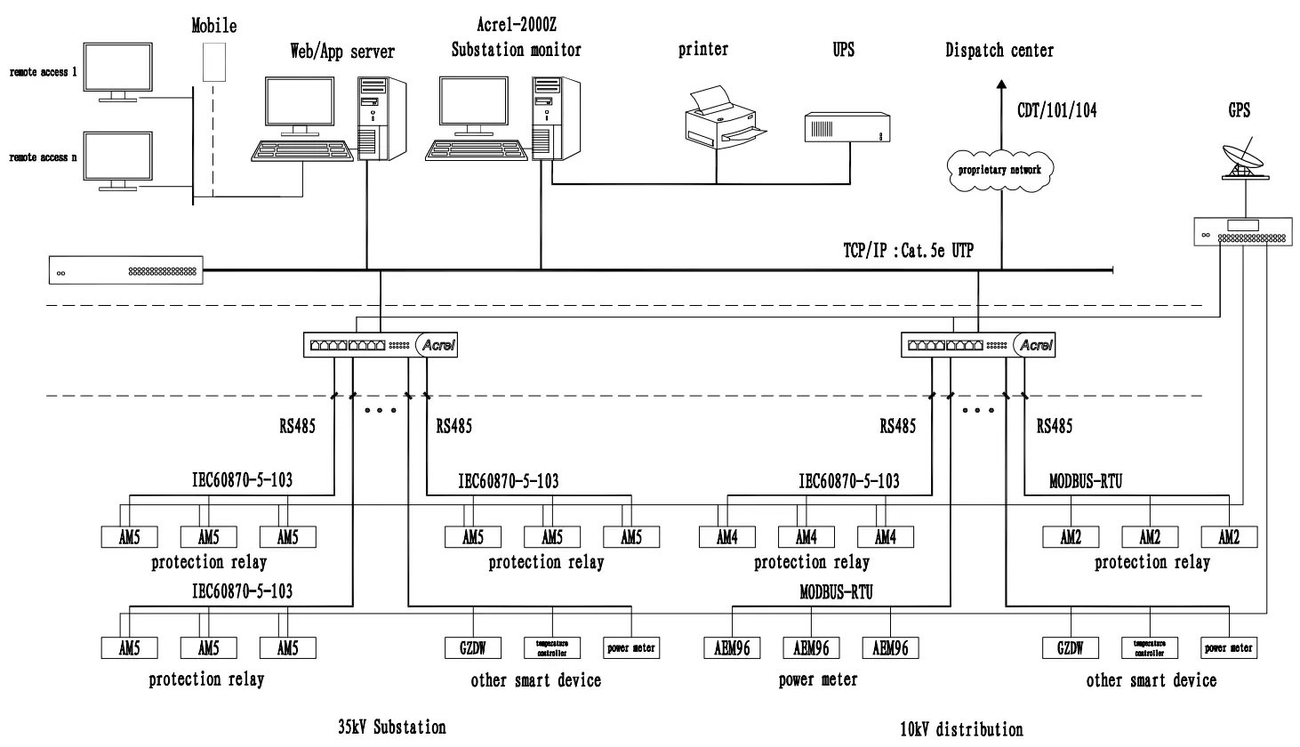
● 1 RS485 serial communication, IEC60870-5-103 and Modbus-RTU;
● More than 200 sequence of event records, more than 400 system logs, and more than 10 seconds tripping context records;
● Powerful graphic programmable Logic.


.png)


Q: How to set the CT and PT ratio of the protection device?
A:The protection device can set the CT and PT ratio through the fixed value menu. For example, the current transformer is 75/5 and the voltage transformer is 10/0.1, then the CT ratio is set to 15 and the PT ratio is set to 100.
Q: How to distinguish the model when place order of AM3SEthat a single line protection and transformer protection?
A: A AM3SE is suitable for circuit protection and transformerprotection. No need to distinguish between models when placing orders.
Q: When the voltage is three-phase three-wire system, does the current have to be connected with 2CT?
A: The voltage wiring mode and current wiring mode of the protection device can be set independently, and can be connected freely.
Q: How to confirm whether the anti-trip function is configured?
A: If the circuit breaker is equipped with anti-trip, the device does not must be equipped with anti-trip; if the circuit
breaker does not have anti-trip, you need to configure the AM5-FT anti-trip module. (If DC48V is selected as the
operating power supply, the anti-trip box is not optional, and the circuit breaker must be equipped with anti-trip
function; if you choose AC anti-trip, please note that AC and DC general anti-tripping)
Q: How to purchase suitable protection devices?
A: Before ordering, it is recommended to consult related engineers, select the appropriate protection model,
and then fill in the corresponding selection table, and place the order after confirmation by the engineers.


.jpg)